您的当前位置:首页 > 产品知识 > 更多产品知识 > 水力分析
作者:红星机器 发布时间:2017-06-25 18:07:02
水力分析(简称水析)是借测定颗粒的沉降速度间接测量颗粒粒度组成的方法。常用于小于0.1mm物料的粒度组成测定。常用水析法有三种:重力沉降法、上升水流法和离心沉降法。测定对象是小于0.1mm的物料。测定条件在自由沉降条件下进行,悬浮液的固体容积浓度小于3%,按斯托克斯沉降速度公式计算,即
![]()
式中 h———沉降距离,m;
t———沉降时间,s;
其他符号意义同前。为了防止水析过程中固体颗粒团聚,通常加入水玻璃等分散剂,它们在水中的浓度是0.01%~0.2%。
沉降水析法
沉降法中比较简单而又可靠的方法是淘析法,淘析法的基本原理是利用逐步缩短沉降时间的方法,由细至粗、逐步地将各粒级物料从试料中淘析出来。
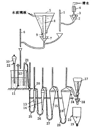
淘析法水析装置也称萨巴宁沉降分析仪,如图3-4-12所示。淘析过程是在一个直径为70~100mm、高度为150~170mm的玻璃杯1中进行的。杯内装有一根直径约为6~10mm的虹吸管2。虹吸管的短管部分应插入杯内,使其管口下端距固体沉淀物料面留有5mm的距离。虹吸管另一端带有管夹3,插入到溢流收集槽4内。

流接收装置等。如图3-4-13所示为一组四管水析器。

这种连续水析器一次可获得多级产品,操作简便,只要保持工作正常(及时放出管内气泡且不使矿粒堵塞胶管),所得结果就较为准确,但水析时间较长。
本篇内容于 2017-06-25 18:07:02 已补充更新上一篇:球径半理论公式的验证分析——球径半理论公式的适应性分析
下一篇:离心沉降法
如果您想了解我们的产品,可以随时拨打我公司的销售热线或点击咨询!![]()
推荐阅读
TOP169鄂破机价格及型号参数鄂破机
TOP257鄂破机一小时能产多少吨物料鄂破机
TOP3时产1000吨石料生产线设备有哪些?多少钱?石料生产线价格
TOP4140圆锥破时产多少石子圆锥破 圆锥破碎机
TOP5小型碎沙机多少钱一台?碎石机
TOP6一套碎石机大概需要多少钱碎石机
TOP7生产雷蒙磨粉机(雷蒙磨)的厂家磨粉机
TOP869破碎机一小时处理多少立方石子?破碎机 69颚式破碎机
TOP91060颚破型号有哪些?什么价?颚破 颚式破碎机
TOP10每小时产200吨的石子破碎机多少钱一台?破碎机
TOP11时产500吨石子生产线配置方案_厂家报价生产线
TOP12销量较好的雷蒙磨粉机型号有哪些雷蒙磨粉机
换一换 ![]()
想让资深工程师为您设计生产方案?想获取全套设备优惠报价单?请留言,专业经理即刻开始为您一对一服务!(不用担心信息泄露,我们将为客户提供信息保密服务!)
来厂考察即可获取资深工程师为您设计方案
多机型现货可选,签订合同,2天内发出
售后团队亲临现场,指导设备安装、试车,完成交付
跟踪砂场运营情况,提供生产运营指导,保障砂场快速盈利
河南红星矿山机器有限公司 总部地址:郑州市高新区梧桐街与红松路交叉口中国高端矿机生产出口基地园区
工程师免费设计方案已有162位获得心仪的方案
算一算 搭配一条合适的生产线需要多少钱?
点击获取报价